Características generales:
- Volante de disco con manilla giratoria escamoteable
- Material: Termoplástico reforzado acabado mate
- Material del núcleo: Acero cincado
- Color: Negro (volante) / Gris (tapa central)
- Ø H10 Agujero guía (tolerancia H10)
- Ø max Agujero máximo
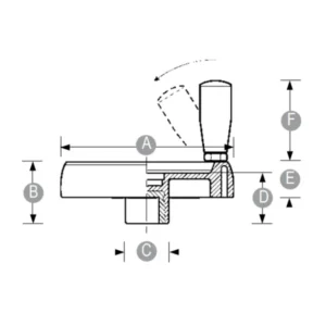
Medidas:

| Ref. | A | B | C | D | E | F | Ø H10 | Ø max | |
|---|---|---|---|---|---|---|---|---|---|
| R89-125 | ![]() |
124 | 49,5 | 36 | 40 | 26,5 | 38 | 5 | 18 |













